2025.09.01

第2章 住宅部位別プランのポイント ③キッチン

家族とつながる、毎日を楽しむ場所へ

料理をするだけの場所から、家族やゲストと過ごす時間も大切にする空間へ。
最近のキッチンは、見た目の美しさと使いやすさを両立しながら、暮らしにフィットした多彩なスタイルが選ばれるようになってきました。
ここでは、代表的なキッチンレイアウトや寸法の目安、理想のキッチンプランを考えるヒントをご紹介します。

1)暮らし方に合わせて選ぶキッチンスタイル

壁付けタイプ

  • リビングやダイニングと空間をしっかり分けられ、作業に集中しやすい
  • コンパクトな間取りにも収まりやすく、空間を有効活用できる
  • 背面に収納をまとめやすい

対面キッチン(セミオープン・オープン)

  • ダイニングやリビングとつながり、家族との会話がしやすい
  • 子どもの様子を見守りながら料理できるため、共働き家庭にも人気
  • カウンターの立ち上がりで手元を隠すセミオープン型も根強い人気

フラット対面キッチン(オープンスタイル)

  • 天板に段差がなく、すっきりした空間を演出
  • ダイニング一体型のレイアウトで、配膳・片付けがラクに
  • 空間の主役として“見せるキッチン”にもなり、デザイン性も重視されている
  • 最近ではアイランド型やペニンシュラ型といった、さらに自由度の高いスタイルも増加中

2)キッチンの基本寸法をおさえておこう

キッチンはタイプによって必要な幅や奥行きが異なります。
プランニング時には、冷蔵庫や家電、配膳スペースの確保なども含めて、全体の動線を確認しましょう。

I型キッチン

壁付け・対面どちらにも対応できるシンプルな形状

  • 本体の長さ(A):1650〜3600㎜程度。2550mmが標準サイズ
  • 奥行き(B):一般的に650mm

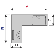
L型キッチン

調理・配膳の動線が短く、作業がしやすい
角部分の活用がポイント

  • 辺の長さ(A):1800〜2700程度
  • 奥行き(B):650mm程度が標準

フラット対面キッチン(ワイドカウンター)

ダイニング側からも使える収納付きカウンターが人気

  • 長さ(A):1985〜2735mm程度
  • 奥行き(B):750mmまたは933mm(ゆったり設計)

3)冷蔵庫や家電の配置も考慮してプランニング

キッチン本体のサイズだけでなく、冷蔵庫・電子レンジ・炊飯器・食洗機などの配置も重要なポイントです。

  • 冷蔵庫の開閉方向と動線が重ならないように配置
  • ゴミ箱スペース、パントリーなどの補助収納も計画しておく
  • コンセントの位置や数にも注意(家電の使い勝手に直結)
  • 最近では「壁付け家電収納+対面キッチン」の組み合わせも増えている

I型

L型

カタログ記載のL型プランでは、加熱調理器やシンク位置に決まりがあり、プラン上のレイアウトをその範囲内で行う必要があります。
(カタログ記載プラン以外についてはショールームで確認しましょう)

プランはすべて反転仕様があります

カテゴリTOPに戻る

Panasonicの住まい・くらし SNSアカウント

  • すむすむ公式 Facebook
  • すむすむ公式 X
  • すむすむ公式 Instagram
  • すむすむ公式 LINE
  • すむすむ公式 Youtube